焦点新闻
联系我们
“社区团购我们不干了” 有供货商断供打响了反击第一枪
“未来12个月至18个月,竞争会非常激烈。”
“不干了,断供。”有供货商对社区团购不满,打响了反击的第一枪。
近日,部分供货商给渠道经销商发通知称,没有授权,不得操作社区团购平台;不允许做单品超低价销售。

网上传出的供货商通知。
部分供货商“断供”社区团购
最近火热的社区团购,一般来说,是以社区为单位,以社群为交易场景,依靠团长向社区居民推荐商品,促成交易的一种电商模式。社区团购被认为是中国零售的最后一战,阿里、腾讯、拼多多、滴滴、美团等互联网巨头纷纷入局,烧钱大战愈演愈烈。
不过,近日有供货商“怼”起了社区团购。据媒体报道,沧州市华海顺达粮油调料有限公司、漯河市卫龙商贸有限公司、山西紫林醋业股份有限公司等下通知要求经销商给社区团购平台断供超低价商品。
沧州市华海顺达粮油调料有限公司下发的通知显示:近期收到众多投诉,社区团购平台出现严重低价现象,甚至个别品项远低于出厂价,影响严重,损害客户的利益。“任何客户操作社区团购平台,必须有我司授权,否则视同窜货;不管平台有没有补贴,价格不得低于我司终端零售价。”
中新网记者致电联系了沧州市华海顺达粮油调料有限公司,对方表示,对断供社区团购一事不予回复。但据沧州晚报报道,沧州市华海顺达粮油调料有限公司董事长钱清华证实了此事。
中新网记者还联系了山西紫林醋业股份有限公司,负责电商业务的某经理称,经销商要拿到授权,在约定的区域内销售,特价销售要报备,这都很正常,“具体是否发过针对社区团购的通知,我还要去核实。”
对于“社区团购被供货商断供”一事,目前有社区团购业务的多家互联网公司均表示不接受采访。
供货商为啥“断供”?
在社区团购如火如荼上演时,为什么供货商率先发难?有分析人士认为,发起反击是对未来的预判,害怕互联网巨头形成垄断。
“社区团购灭掉小摊小超市后,就能坐地压供应商的货价,对供应商来说,一家独大是没法保证利润最大化的,遍地开店才能保证货价话语权。”
有媒体援引沧州市华海顺达粮油调料有限公司董事长钱清华的话称,公司业务部门在12月12日下午接到多个供货客户投诉,有多个社区团购平台通过补贴拉顾客,引发了市场价格战,因此公司发布上述公告。
不过也有供货商无所谓:“让子弹飞一会,等他们烧完钱。”
有网友认为,这样一来,中间的经销商更难了,受“夹板气”,给社区团购平台供货是找死,不供货是等死,毕竟你不供货有别人偷着供货。
社区团购会否形成垄断?
食品产业分析师朱丹蓬接受中新网记者采访时称,目前看,社区团购是互联网电商的升级,服务更便捷,性价比更突出,客户粘性越来越高,肯定是未来风口,“但一定是互联网巨头玩的游戏,中小型企业玩不了。”
不过社区团购平台十荟团CEO陈郢日前曾表示,未来社区团购不会是一家独大,至少3家至5家企业,在商品盘、用户定位、服务体验上实现差异化,长期存在,“未来12个月至18个月竞争会非常激烈。”
值得注意的是,12月14日,市场监管总局对三起未依法申报违法实施经营者集中案作出行政处罚决定,阿里巴巴、阅文集团、丰巢分别被处以50万元罚款的行政处罚。
市场监管总局反垄断局主要负责人答记者问时称,尽管罚款额度较低,但是上述三个案件的处罚可以向社会释放加强互联网领域反垄断监管的信号,打消一些企业可能存在的侥幸和观望心理,产生相应的威慑效果。
近日,南京市市场监管局还发布了《电商“菜品社区团购”合规经营告知书》,要求平台经营者不得以不正当竞争方式获取交易机会或竞争优势,并因此损害其他经营者或消费者合法权益,尤其不得以低于成本的价格实施低价倾销。
上述告知书还称,团长视情应办理相应的市场主体登记。阿里巴巴、美团、滴滴、苏宁等在南京的电商社区团购相关负责人,已在告知书上签字。
社区团购生不逢时?
近日,有媒体评论社区团购:别只惦记着几捆白菜、几斤水果的流量,科技创新的星辰大海、未来的无限可能性,其实更令人心潮澎湃。
一时间,有消息称阿里、拼多多、美团集体表态退出社区团购。不过很快又有消息称,该消息为谣言。
中新网记者分别联系了上述企业,截至发稿,尚未收到回应。记者在拼多多、美团等平台查看,社区团购业务正常运营。京东、兴盛优选、滴滴、盒马等社区团购平台也保持缄默。

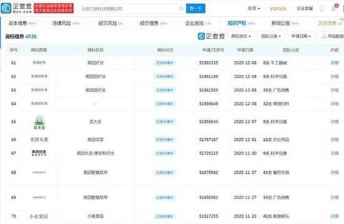
企查查截图。
但争议归争议,互联网巨头们的动作都没停下来。如,企查查显示,近日美团关联公司北京三快科技有限公司申请“菜大全”“美团买菜”等商标,商标状态为商标申请中。
据艾瑞咨询9月发布的数据显示,2020年社区团购市场发展迅猛,市场规模预计将达720亿元。十荟团副董事长刘凯曾预测,未来社区团购市场规模将达到万亿元级别。
目前看,上了社区团购的牌桌,谁都不会轻易放弃。
来源:中国新闻网 作者:吴涛





